I was reading up on the Brannock Foot Measuring Device. I often do this sort of thing, as it is my responsibility as a men’s style blogger.
As I read about fitting with the Brannock, I started thinking about how few people (myself included) have a good handle on their shoe size. Typically, we just wear something that we decided was our size when we were 15, and muddle along through any problems we encounter.
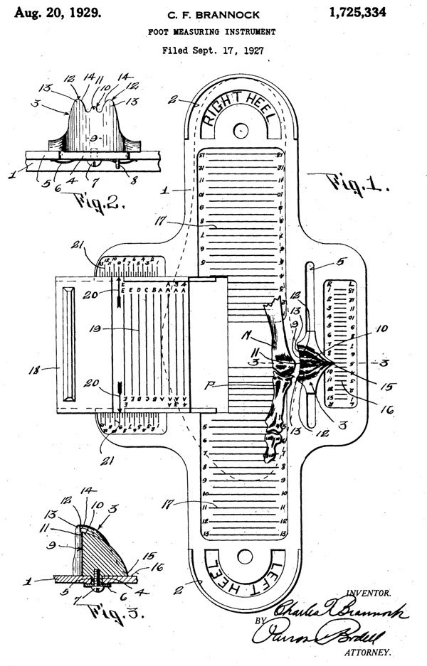
The Brannock measures the length of the foot, heel to toe, but it also gives us two other important measurements. The first is the width of the foot – in the US, a standard width is “D”, with C, B and so forth being narrow, and E, EE and so forth being wide. The second is the arch length – from the heel to the ball of the foot.
When buying shoes, ensure first that the arch length is appropriate – the ball of your feet should fall at the widest point in the shoe. This means that the flex point of your foot and the shoe will be coincidental, which is vital for comfort and for the health of your foot. Your toes should be unconstricted, but it’s less vital for the length of the shoe to be perfect than that heel-to-ball distance. You can have an extra inch of toe room without compromising the fit if your arch length is correct.
Width is also essential. Heavily padded athletic shoes often only come in a standard width, but dress shoes are not padded, and are designed to fit your foot closely and comfortably. The best dress shoes (especially slip-ons, which are less forgiving, fit-wise) have both heel and forefoot widths.
Feet can also be thick or thin – I always have to pull my laces completely tight, and my wife always has an inch of room, though we both have slightly narrower-than-normal feet. It’s rare for me to find shoes that don’t benefit from an insole or tongue pad or both. If your feet are thin, you should err on the narrow side, and with thick feet, the opposite.
Of course, widths in particular are non-standard. A standard English shoe width, for example, is an “F”, but an English “F” is often more like an American “E” than the standard American “D." Widths can vary wildly between companies, and even between lasts. Most shoe companies build on only a few lasts – like Alden’s Plaza, Barrie, Trubalance, Leydon and Van for example. Familiarity with these lasts will help you buy if you’re buying online. Generally it’s important to try on shoes, especially if they’re non-returnable or too expensive to resell or discard.
Your feet change sizes, as well, over the length of your life and even over the course of a day. If you’re buying shoes you’ll be wearing for long stretches of time, try them on in the afternoon or early evening, when your feet have done their daily swelling. If it’s been a few years since you’ve had your foot in a Brannock, don’t assume your feet haven’t changed.
At the very least, go to a good shoe store and find out about your feet from an experienced salesperson. If there’s an old-fashioned store that sells high-quality dress shoes along with "comfort shoes” for nurses and doctors and so on, that’s probably your best bet. Most non-designer high-end shoe stores will also help. Nordstrom’s has a good reputation among department stores, and I’ve heard they’ll even sell you two shoes in different sizes (my right foot has a narrower heel and higher apex than my left, but I’ve never gone that far).
Hopefully this’ll give you some help the next time you’re shopping for shoes. Good luck!


